首页 > 新闻 > 资讯

分享到微信

打开微信,点击底部的“发现”,
使用“扫一扫”即可将网页分享至朋友圈。

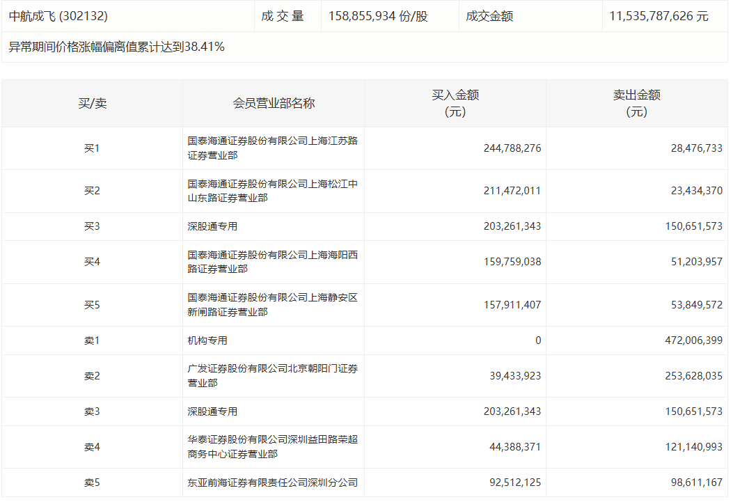
军工板块震荡拉升

第一财经 2025-05-15 09:42:01

责编:殷晴妍

军工板块震荡拉升

成飞集成7连板,安达维尔20%涨停,神剑股份、通达股份触及涨停,利君股份、晨曦航空走高。

举报
第一财经广告合作,请点击这里
此内容为第一财经原创,著作权归第一财经所有。未经第一财经书面授权,不得以任何方式加以使用,包括转载、摘编、复制或建立镜像。第一财经保留追究侵权者法律责任的权利。
如需获得授权请联系第一财经版权部:banquan@yicai.com
一财最热
点击关闭